Перевірка провідності перемикача регулювання дзеркала
Перевірка електроприводу дзеркал
Підключіть акумулятор до виводів «3» (+) та «2» (–) роз'єму електроприводу, переконайтеся, що дзеркало повертається вліво.
Змініть полярність напруги, переконайтеся, що дзеркало повертається праворуч.
Підключіть акумуляторну батарею до висновків «1» (+) і «2» (–) роз'єму електроприводу, переконайтеся, що дзеркало повертається вгору.
Змініть полярність напруги, переконайтеся, що дзеркало повертається вниз.
Перевірка реле обігрівача заднього скла
Перевірте постійну наявність провідності між виводами «1» та «2» реле обігрівача.
Перевірте наявність провідності між виводами «1» та «2» реле при додатку напруги акумуляторної батареї між виводами «3» та «5».
Перевірка внутрішнього дзеркала заднього виду
Підключіть позитивну клему батареї до виводу «1», а негативну клему – до виводу «2».
Заклейте чорною стрічкою (див. мал. 3) датчик світла внутрішнього дзеркала заднього виду.
Освітіть дзеркало лампою і перевірте, чи дзеркало буде темніти.
Якщо затемнення не відбувається, замініть внутрішнє дзеркало.
Від'єднайте роз'єм перемикача та перевірте провідність між висновками таблиць.
Ліве дзеркало
|
№ виведення |
Положення |
Результат |
|---|---|---|
|
- |
Вимкнено |
не проводиться |
|
4-8 6-7 |
Вгору |
провідний |
|
4-7 6-8 |
Вниз |
провідний |
|
5-8 6-7 |
Вліво |
провідний |
|
5-7 6-8 |
Вправо |
провідний |
Праве дзеркало
|
№ виведення |
Положення |
Результат |
|---|---|---|
|
- |
Вимкнено |
не проводиться |
|
3-8 6-7 |
Вгору |
провідний |
|
3-7 6-8 |
Вниз |
провідний |
|
2-8 6-7 |
Вліво |
провідний |
|
2-7 6-8 |
Вправо |
провідний |
Складання дзеркал
|
№ виведення |
Положення |
Результат |
|---|---|---|
|
7-9 8-10 |
Рух |
провідний |
|
7-10 8-9 |
Зупинка |
провідний |
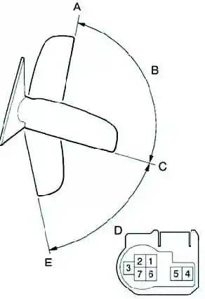
Перевірка електродвигуна складання дзеркал
Підключіть акумулятор до виводів роз'єму електродвигуна, перевірте сигнал, змінюючи положення дзеркала згідно з даними в таблиці.
Якщо в момент однієї з операцій сигнал не визначено, замініть дзеркало.
Складання дзеркал
|
№ виведення |
Положення |
Результат |
|---|---|---|
|
А |
Батарея (+) -1 Батарея (-) - 2 |
крайнє становище (зупинка) |
|
Батарея (+) - 2 Батарея (-) -1 |
відключено |
|
|
В |
Батарея (+) -1 Батарея (-) - 2 |
крайнє становище (зупинка) |
|
Батарея (+) - 2 Батарея (-) -1 |
крайнє становище (зупинка) |
|
|
С |
Батарея (+) -1 Батарея (-) - 2 |
крайнє становище (зупинка) |
|
Батарея (+) - 2 Батарея (-) -1 |
відключено |
|
|
D |
Батарея (+) -1 Батарея (-) - 2 |
крайнє становище (зупинка) |
|
Батарея (+) - 2 Батарея (-) -1 |
фаза руху (зупинка) |
|
|
Е |
Батарея (+) -1 Батарея (-) - 2 |
відключено |
|
Батарея (+) - 2 Батарея (-) -1 |
фаза руху (зупинка) |
